Разделители мембранные


РМ
РМ
Манометр
Разделители предназначены для предохранения внутренней полости чув­стви­тель­ных элементов измерительных устройств (манометров и пре­об­ра­зо­ва­те­лей давления) от попадания в нее сред, агрессивных, горячих, крис­тал­ли­зу­ю­щих­ся, не­су­щих взвешенные твердые частицы.
При необходимости, сторона мембраны разделителя, соприкасающаяся с агрессивной измеряемой средой, может быть защищена фторопластом.
Разделители могут соединяться с измерительным устройством непосредственно или через соединительный рукав модели 55004 (рис. 7).
Разделитель с измерительным устройством функционирует при температурах, указанных в техническом описании измерительного устройства.
Габаритные и присоединительные размеры разделителей указаны на рисунках внизу.
Разделители изготовляются для нужд народного хозяйства и для поставки на экспорт (в том числе для тропического климата).

Технические параметры разделителей мембранных







Мембрана

Мембрана
Диапазон давления
Диапазон измерения давления, MРa
0,025 ... 60
Температурный диапазон
Климатическое исполнение стандартное (°C)
- 30…+ 60
Относительная влажность окружающего воздуха (% при 35°C)
98
Температура измеряемой среды (°C)
- 40…+ 170
Технические характеристики
Технические условия (ТУ)
25-05.2343-78
Дополнительная погрешность вносимая разделителем (%)
1
Марки разделительной жидкости
ПЭС-2; ПМС-6; ПМС-50
Конструкционные материалы *
Материал исполнения мембраны (сталь)
36НХТЮ
Материал корпуса и фланцев (сталь)
12Х18Н10Т
Вес
Масса моделей 5319; 5494; 5497 (не более кг.)
3
Масса модели 5321 (не более кг.)
2,2
Масса модели 5320 (не более кг.)
2
Масса модели 5322 (не более кг.)
1,5
Масса соединительного рукава (не более кг.)
0,4
Сервис
Гарантийный срок эксплуатации, месяц
Гарантийный срок хранения, месяц
Межповерочный интервал, месяц
* - для модели 5494 материал фланца - сталь 45

Таблица основных параметров разделителей

Модель разделителя*
Верхние пределы измерений измерительных устройств, комплектуемых разделителями, МПа (кгс/см2)
Объемы, заполняемые разделительной жидкостью измерительных устройств, комплектуемых разделителями, см3
5319, 5320, 5497
0,025-2,5 (0,25-25)
40
5321, 5322
4-60 (40-600)
20
5494
0,6-2,5 (6-25)

* - Модели 5320 и 5322 (с открытой мембраной) предназначены для сред, кристалезирующихся,выделяющих осадки или несущие взвешеные твёрдые частицы

Чертежи разделителей мембранных

Габаритные и присоединительные размеры разделителя мембранного РМ модели 5319   Габаритные и присоединительные размеры разделителя мембранного РМ модели 5320
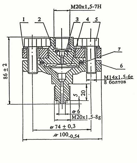
Рис. 1. Габаритные и присоединительные размеры разделителя мембранного РМ модели 5319. 1 - верхний фланец; 2 - корпус; 3 - прокладка; 4 - мембрана; 5 - болт; 6 - нижний фланец; 7 - прокладка
 
Рис. 2. Габаритные и присоединительные размеры разделителя мембранного РМ модели 5320. 1 - верхний фланец; 2 - корпус; 3 - прокладка; 4 - мембрана; 5 - болт; 7 - прокладка
Габаритные и присоединительные размеры разделителя мембранного РМ моделей 5321   Габаритные и присоединительные размеры разделителя мембранного РМ модели 5322
Рис. 3. Габаритные и присоединительные размеры разделителя мембранного РМ моделей 5321. 1 - верхний фланец; 2 - корпус; 3 - прокладка; 4 - мембрана; 5 - болт; 6 - нижний фланец; 7 - прокладка
 
Рис. 4. Габаритные и присоединительные размеры разделителя мембранного РМ модели 5322. 1 - верхний фланец; 2 - корпус; 3 - прокладка; 4 - мембрана; 5 - болт; 7 - прокладка
Габаритные и присоединительные размеры разделителя мембранного РМ модели 5494   Габаритные и присоединительные размеры разделителя мембранного РМ модели 5497
Рис. 5. Габаритные и присоединительные размеры разделителя мембранного РМ модели 5494. 1 - верхний фланец; 2 - корпус; 3 - прокладка; 4 - мембрана; 5 - болт; 6 - нижний фланец; 7 - прокладка
 
Рис. 6. Габаритные и присоединительные размеры разделителя мембранного РМ модели 5497. 1 - верхний фланец; 2 - корпус; 3 - прокладка; 4 - мембрана; 5 - болт; 6 - нижний фланец; 7 - прокладка
Габаритные и присоединительные размеры рукава соединительного гибкого модели 55004
Рис. 7. Габаритные и присоединительные размеры рукава соединительного гибкого модели 55004
Для оформления заказа отправьте нам письмо на адрес электронной почты metronic@mail.ru в произвольной форме, указав характеристики и количество приборов, а также способ доставки и свои контактные данные. Отправляя нам контактные данные, Вы соглашаетесь с условиями конфиденциальности личных данных.